申请号: 201810188180.9
申请人: 常州市海力工具有限公司
发明人: 周正平
 
   
摘要:
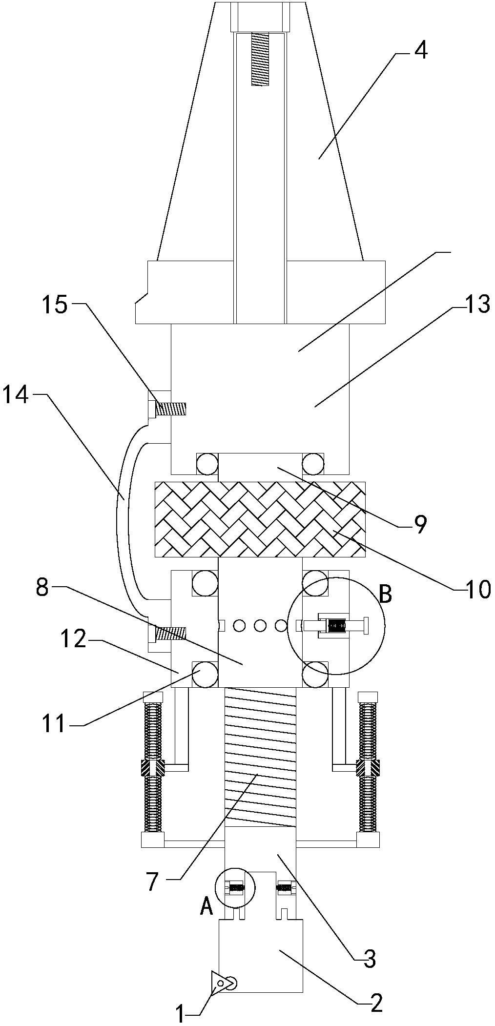
本发明涉及刀具附属装置的技术领域,特别是涉及PCBN超硬刀具,其刀头型号更换方便,操作简单,更换效率快,提高实用性;并且刀杆的长度可以进行调节,可以对切削孔的加工深度进行调节,提高使用可靠性;包括刀头、刀座、刀杆和刀柄,刀头固定安装在刀座上;包括凸块、左锁紧螺栓和右锁紧螺栓;还包括螺纹杆、螺纹管、转轴、调节旋钮、第一滚珠轴承、第二滚珠轴承、第三滚珠轴承、调节块、旋转块、连接臂和两组沉头螺栓,螺纹杆的底端与刀杆的顶端连接,调节块的内部纵向设置右通孔,并且调节块的顶端和底端分别设置有上安装槽和下安装槽,并且上安装槽和下安装槽均与通孔相通,第一滚珠轴承安装在下安装槽内部,第二滚珠轴承安装在上安装槽内部。
主权利要求:
1.一种PCBN超硬刀具,包括刀头(1)、刀座(2)、刀杆(3)和刀柄(4),刀头(1)固定安装在 刀座(2)上;其特征在于,包括凸块(5)、左锁紧螺栓(6)和右锁紧螺栓,所述凸块(5)的底端 与所述刀座(2)的顶端中部连接,所述刀杆(3)的底端对应设置有凹槽,所述凸块(5)与凹槽 间隙配合,所述刀杆(3)的左端和右端分别设置有左锁紧螺纹孔和右锁紧螺纹孔,并且左锁 紧螺纹孔和右锁紧螺纹孔均与所述凹槽相通,所述左锁紧螺栓(6)的右端插入并螺装左锁 紧螺纹孔内部,所述右锁紧螺栓的左端插入并螺装至右锁紧螺纹孔内部;还包括螺纹杆 (7)、螺纹管(8)、转轴(9)、调节旋钮(10)、第一滚珠轴承(11)、第二滚珠轴承、第三滚珠轴 承、调节块(12)、旋转块(13)、连接臂(14)和两组沉头螺栓(15),所述螺纹杆(7)的底端与所 述刀杆(3)的顶端连接,所述调节块(12)的内部纵向设置右通孔,并且调节块(12)的顶端和 底端分别设置有上安装槽和下安装槽,并且上安装槽和下安装槽均与所述通孔相通,所述 第一滚珠轴承(11)安装在下安装槽内部,所述第二滚珠轴承安装在上安装槽内部,所述螺 纹管(8)的底端穿过上安装槽并插入至通孔内部,并且螺纹管(8)的底端插入至第一滚珠轴 承(11)内部,并且螺纹管(8)的顶端穿过第二滚珠轴承并伸出至第二滚珠轴承的顶端外界, 所述调节旋钮(10)的底端与所述螺纹管(8)的顶端连接,所述转轴(9)的底端与所述调节旋 钮(10)的顶端连接,并且调节旋钮(10)的外侧设置有防滑花纹,所述旋转块(13)的底端设 置有放置槽,并且放置槽内部设置有第三滚珠轴承,所述转轴(9)的顶端插入至第三滚珠轴 承内部,所述连接臂(14)的顶端和底端分别设置有上连接块和下连接块,并且上连接块和 下连接块的内部横向设置有上螺栓沉孔和下螺栓沉孔,所述旋转块(13)的左端对应设置有 上螺栓孔和下螺栓孔,并且上螺栓孔和下螺栓孔内部均设置有内螺纹,所述两组沉头螺栓 (15)的右端分别穿过上螺栓沉孔和下螺栓沉孔,并且两组沉头螺栓(15)的右端插入并螺装 至上螺栓孔和下螺栓孔内部。
2.如权利要求1所述的一种PCBN超硬刀具,其特征在于,还包括左连接杆、右连接杆 (16)、左短杆、右短杆(17)、左限位套、右限位套(18)、左支杆、右支杆(19)、左限位导柱、右 限位导柱(20)、左下限位块和右下限位块(21),所述左连接杆的顶端与所述调节块(12)的 底端左侧连接,所述左短杆的顶端右侧与左连接杆的底端连接,所述左限位套的右端与左 短杆的左端连接,并且左限位套的内部纵向设置有左滑孔,所述左限位导柱的底端插入至 左滑孔内部并伸出至左限位套的底端外界,所述左限位导柱与所述左滑孔滑动配合,所述 左支杆的右端与所述刀杆(3)的左端连接,所述左下限位块的右端与左支杆的左端连接,所 述左限位导柱的底端与所述左限位块的顶端连接,所述右连接杆(16)的顶端与所述调节块 (12)的底端右侧连接,所述右短杆(17)的顶端左侧与右连接杆(16)的底端连接,所述右限 位套(18)的左端与右短杆(17)的右端连接,并且右限位套(18)的内部纵向设置有右滑孔, 所述右限位导柱(20)的底端插入至右滑孔内部并伸出至右限位套(18)的底端外界,所述右 限位导柱(20)与所述右滑孔滑动配合,所述右支杆(19)的左端与所述刀杆(3)的右端连接, 所述右下限位块(21)的左端与右支杆(19)的右端连接,所述右限位导柱(20)的底端与所述 右限位块的顶端连接。
3.如权利要求2所述的一种PCBN超硬刀具,其特征在于,还包括左上弹簧组、左下弹簧 组、右上弹簧组(22)、右下弹簧组(23)、左上限位块和右上限位块(24),所述左上限位块的 底端与所述左限位导柱的顶端连接,所述左上弹簧组套装在左限位导柱的上侧,并且左上 弹簧组的顶端与所述左上限位块的底端连接,左上弹簧组的底端与左限位套的顶端连接, 所述左下弹簧组套装在左限位导柱的下侧,并且左下弹簧组的顶端与所述左限位套的底端 连接,左下弹簧组的底端与左下限位块的顶端连接,所述右上限位块(24)的底端与所述右 限位导柱(20)的顶端连接,所述右上弹簧组(22)套装在右限位导柱(20)的上侧,并且右上 弹簧组(22)的顶端与所述右上限位块(24)的底端连接,右上弹簧组(22)的底端与右限位套 (18)的顶端连接,所述右下弹簧组(23)套装在右限位导柱(20)的下侧,并且右下弹簧组 (23)的顶端与所述右限位套(18)的底端连接,右下弹簧组(23)的底端与右下限位块(21)的 顶端连接。
4.如权利要求3所述的一种PCBN超硬刀具,其特征在于,还包括限位销(25)、滑板(26)、 拉杆(27)和套筒(28),所述调节块(12)的右端设置有限位槽,所述套筒(28)安装在限位槽 内部,并且套筒(28)内部设置有空腔,套筒(28)的左端设置有左拉孔,套筒(28)的右端设置 有右拉孔,并且左拉孔和右拉孔均与所述空腔相通,所述滑板(26)滑动安装在空腔内部,所 述限位销(25)的右端穿过左拉孔伸入至空腔内部与所述滑板(26)的左端连接,所述拉杆 (27)的左端穿过右拉孔伸入至空腔内部与滑板(26)的右端连接,并且拉杆(27)的右端设置 有拉帽,所述螺纹管(8)的外侧圆周均布设置有多组限位孔,所述多组限位孔均与所述限位 销(25)的左端间隙配合。
5.如权利要求4所述的一种PCBN超硬刀具,其特征在于,还包括上限位块(29)和下限位 块,所述上限位块(29)的顶端与所述左拉孔的顶端内壁连接,所述下限位块的底端与所述 左拉孔的底端内壁连接。
6.如权利要求5所述的一种PCBN超硬刀具,其特征在于,还包括缓冲弹簧(30),所述缓 冲弹簧(30)位于所述空腔内部,并前缓冲弹簧(30)套装在拉杆(27)上,缓冲弹簧(30)的左 端与滑板(26)的右端连接,并且缓冲弹簧(30)的右端与所述空腔的右侧内壁连接。
7.如权利要求6所述的一种PCBN超硬刀具,其特征在于,还包括锁紧杆(31)和连接螺栓 (32),所述锁紧杆(31)的底端与所述旋转块(13)的顶端中部连接,并且锁紧杆(31)的顶端 设置有锁紧螺纹孔,所述刀柄(4)的内部纵向设置有沉头通孔,所述锁紧杆(31)的顶端插入 沉头通孔内部,所述连接螺栓(32)的底端自沉头通孔的顶端插入并螺装至锁紧螺纹孔的顶 端内部。
8.如权利要求7所述的一种PCBN超硬刀具,其特征在于,还包括左限位卡块(33)和右限 位卡块,所述左限位卡块(33)位于所述凸块(5)的左测,所述右限位卡块位于凸块(5)的右 侧,并且左限位卡块(33)和右限位卡块均与刀座(2)的顶端连接,并且刀杆(3)的底端左侧 和右侧均对应设置有左限位卡槽和右限位卡槽,所述左限位卡块(33)与左限位卡槽间隙配 合,并且右限位卡块与右限位卡槽间隙配合。











