申请号:201620826784.8
  申请人:郑州法图曼工具磨具有限公司 
  发明人:程顺利 
  摘要: 本实用新型公开了一种精加工金刚石刀具,包括刀头,所述刀头的中部开设有凹槽,所述凹槽所在刀头的轴心处开设有固定槽,所述刀头的侧面开设有排屑槽,所述排屑槽的侧面开设有定位槽,所述定位槽与刀片的底端固定套接,所述刀片包括螺帽,所述螺帽固定安装在螺纹槽的底部,所述螺帽的底端与螺杆的顶端焊接,所述螺杆的底端贯穿并延伸至套板底端的外部且与套板的内部螺纹连接,所述套板的外沿焊接有齿盘。本实用新型通过设置齿盘与定位槽的啮合,来提高刀片固定的精准性,然后通过设置螺杆来便于刀片的固定和拆卸,从而减少了对刀头进行更换的时间,来提高刀具的工作效率。

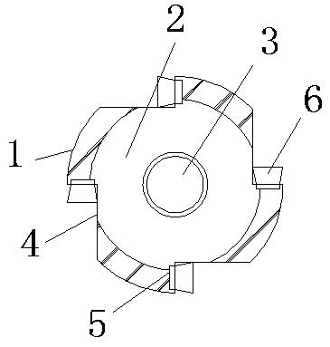
  主权利要求:1.一种精加工金刚石刀具,包括刀头(1),其特征在于:所述刀头(1)的中部开设有凹槽(2),所述凹槽(2)所在刀头(1)的轴心处开设有固定槽(3),所述刀头(1)的侧面开设有排屑槽(4),所述排屑槽(4)所在刀头(1)的侧面开设有定位槽(5),所述定位槽(5)与刀片(6)的底端固定套接。
  2.根据权利要求1所述的一种精加工金刚石刀具,其特征在于:所述刀片(6)包括螺帽(61),所述螺帽(61)固定安装在螺纹槽(62)的底部,所述螺帽(61)的底端与螺杆(63)的顶端焊接,所述螺杆(63)的底端贯穿并延伸至套板(64)底端的外部且与套板(64)的内部螺纹连接,所述套板(64)的外沿焊接有齿盘(65)。
  3.根据权利要求1所述的一种精加工金刚石刀具,其特征在于:所述刀片(6)的形状为漏斗状,刀片(6)固定安装有至少四个,且刀片(6)以固定槽(3)的轴心对称。
  4.根据权利要求2所述的一种精加工金刚石刀具,其特征在于:所述套板(64)的形状为圆饼状,且套板(64)的底端通过齿盘(65)的外齿与定位槽(5)的内壁相互啮合。
  5.根据权利要求1所述的一种精加工金刚石刀具,其特征在于:所述刀片(6)斜面的底端与刀头(1)的上表面位于同一水平面上。





